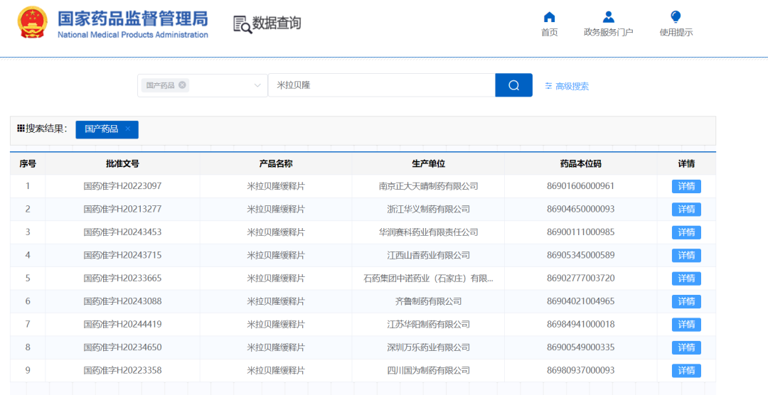
基本信息 米拉贝隆(Mirabegron)用于膀胱过度活动症的选择性β3-肾上腺素能受体激动剂。通过作用于储尿期逼尿肌上的β3AR来抑制自主收缩,从而介导增加膀胱顺应性和延迟排尿反射;也可通过激活第二信使环磷酸腺苷(cAMP),再激活PKA,进而磷酸化细胞内关键的靶蛋白,导致平滑肌松驰,最终缓解OAB。 剂型/规格 缓释片 50mg 备案情况 USDMF 市场情况 米拉贝隆缓释片由Astellas Pharma Europe B.V.公司开发,2011年9月1日获得批准在日本上市,商品名为Betanis,规格为25mg、50mg;2012年6月28日获得批准在美国上市,商品名为Myrbetriq,规格为25mg、50mg;2017年12月4日原研产品获得批准在中国上市,商品名为BETMIGA(贝坦利),规格为25mg、50mg。 根据全球71国家药品销售数据库显示,2022年米拉贝隆缓释片全球销售额32.47亿美元,其中“Betanis”销售额31.92亿美元,“BETMIGA(贝坦利)”销售额0.046亿美元。 国内市场,根据国家药监局网站信息显示,国内已批准上市的米拉贝隆缓释片生产厂家有9家。根据米内网数据显示,2022年国内医疗市场米拉贝隆缓释片销售总额(终端价)为5583万元人民币,其中排名前3的企业及其市场份额分别为安斯泰来制药58.30%,华东医药浙江华义制药41.61%,南京正大天晴制药0.09%。

关于举办2026年度四川省药品生产企业质
各药品生产企业: 2026年是我国..四川省医药保化品质量管理协会召开第七
2025年12月17日,四川省医药保化品..协会党支部组织党日主题学习会
协会党支部组织党日主题学习会 --..协会党支部组织党日主题学习会
协会党支部组织党日主题学习会 --..四川省医药保化品质量管理协会党支部开
为庆祝中国共产党成立104周年,持..四川省医药保化品质量管理协会党支部召
四川省医药保化品质量管理协会党支..四川省医药保化品质量管理协会党支部召
四川省医药保化品质量管理协会党支..关于相关收费标准的公示
根据四川省医药保化品质量管理协会..关于收取2025年度会费的通知
各会员单位: 在过去的一年里,..“两新联万家,党建助振兴”甘孜行活动
为深入贯彻落实省委两新工委、省市..四川省应对新型冠状病毒肺炎疫情应急指
四川省应对新型冠状病毒肺炎疫情应..四川省应对新型冠状病毒肺炎疫情应急指
四川省应对新型冠状病毒肺炎疫情应..